今天小編為大家介紹的是渦街流量計,這是一款高精密的流量計計量儀表,可以用來檢測多種介質,被廣泛的應用于工業生產中的各個領域。
一、概 述
渦街流量計是在流體中安放一根(或多根)非流線型阻流體(bluff body),流體在阻流體兩側交替地分離釋放出兩串規則的旋渦,在一定的流量范圍內旋渦分離頻率正比于管道內的平均流速,通過采用各種形式的檢測元件測出旋渦頻率就可以推算出流體的流量。
早在1878年斯特勞哈爾(Strouhal)就發表了關于流體振動頻率與流速關系的文章,斯特勞哈爾數就是表示旋渦頻率與阻流體特征尺寸,流速關系的相似準則。人們早期對渦街的研究主要是防災的目的,如鍋爐及換熱器鋼管固有頻率與流體渦街頻率合拍將產生共振而破壞設備。渦街流體振動現象用于測量研究始于20世紀50年代,如風速計和船速計等。60年代末開始研制封閉管道流量計--渦街流量計,誕生了熱絲檢測法及熱敏檢測法渦街流量計。70、80年代渦街流量計發展異常迅速,開發出眾多類型阻流體及檢測法的渦街流量計,并大量生產投放市場,像這樣在短短幾年時間內就達到從實驗室樣機到批量生產過程的流量計還絕無僅有。
我國渦街流量計的生產亦有飛速發展,全國生產廠達數十家,這種生產熱潮國外亦未曾有過。應該看到,渦街流量計尚屬發展中的流量計,無論其理論基礎或實踐經驗尚較差。至今最基本的流量方程經常引用卡曼渦街理論,而此理論及其一些定量關系是卡曼在氣體風洞(均勻流場)中實驗得出的,它與封閉管道中具有三維不均勻流場其旋渦分離的規律是不一樣的。至于實踐經驗更是需要通過長期應用才能積累。一般流量計出廠校驗是在實驗室參考條件下進行的,在現場偏離這些條件不可避免。工作條件的偏離到底會帶來多大的附加誤差至今在標準及生產廠資料中尚不明確。這些都說明流量計的迅速發展需求基礎研究工作必須跟上,否則在實用中經常會出現一些預料不到的問題,這就是用戶對渦街流量計存在一些疑慮的原因,它亟需探索解決。
渦街流量計已躋身通用流量計之列,無論國內外皆已開發出多品種。全系列、規格齊全的產品,對于標準化工作亦很重視,流量計存在一些問題是發展中的正常現象。
二、工作原理與結構
2.1. 工作原理
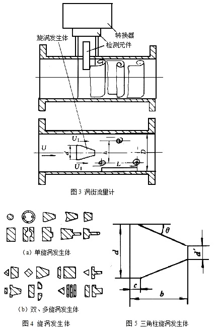
在流體中設置旋渦發生體(阻流體),從旋渦發生體兩側交替地產生有規則的旋渦,這種旋渦稱為卡曼渦街,如圖1所示。旋渦列在旋渦發生體下游非對稱地排列。設旋渦的發生頻率為f,被測介質來流的平均速度為U,旋渦發生體迎面寬度為d,表體通徑為D,根據卡曼渦街原理,有如下關系式
K除與旋渦發生體、管道的幾何尺寸有關外,還與斯特勞哈爾數有關。斯特勞哈爾數為無量綱參數,它與旋渦發生體形狀及雷諾數有關,圖2所示為圓柱狀旋渦發生體的斯特勞哈爾數與管道雷諾數的關系圖。由圖可見,在ReD=2×104~7×106范圍內,Sr可視為常數,這是儀表正常工作范圍。當測量氣體流量時,渦街流量計的流量計算式為
由上式可見,渦街流量計輸出的脈沖頻率信號不受流體物性和組分變化的影響,即儀表系數在一定雷諾數范圍內僅與旋渦發生體及管道的形狀尺寸等有關。但是作為流量計在物料平衡及能源計量中需檢測質量流量,這時流量計的輸出信號應同時監測體積流量和流體密度,流體物性和組分對流量計量還是有直接影響的。
2.2. 結構
渦街流量計由傳感器和轉換器兩部分組成,如圖3所示。傳感器包括旋渦發生體(阻流體)、檢測元件、儀表表體等;轉換器包括前置放大器、濾波整形電路、D/A轉換電路、輸出接口電路、端子、支架和防護罩等。近年來智能式流量計還把微處理器、顯示通訊及其他功能模塊亦裝在轉換器內。
(1)旋渦發生體
旋渦發生體是檢測器的主要部件,它與儀表的流量特性(儀表系數、線性度、范圍度等)和阻力特性(壓力損失)密切相關,對它的要求如下。
1) 能控制旋渦在旋渦發生體軸線方向上同步分離;
2) 在較寬的雷諾數范圍內,有穩定的旋渦分離點,保持恒定的斯特勞哈爾數;
3) 能產生強烈的渦街,信號的信噪比高;
4) 形狀和結構簡單,便于加工和幾何參數標準化,以及各種檢測元件的安裝和組合;
5) 材質應滿足流體性質的要求,耐腐蝕,耐磨蝕,耐溫度變化;
6) 固有頻率在渦街信號的頻帶外。
已經開發出形狀繁多的旋渦發生體,它可分為單旋渦發生體和多旋渦發生體兩類,如圖4所示。單旋渦發生體的基本形有圓柱、矩形柱和三角柱,其他形狀皆為這些基本形的變形。三角柱形旋渦發生體是應用最廣泛的一種,如圖5所示。圖中D為儀表口徑。為提高渦街強度和穩定性,可采用多旋渦發生體,不過它的應用并不普遍。
⑵ 檢測元件
流量計檢測旋渦信號有5種方式。
1) 用設置在旋渦發生體內的檢測元件直接檢測發生體兩側差壓;
2) 旋渦發生體上開設導壓孔,在導壓孔中安裝檢測元件檢測發生體兩側差壓;
3) 檢測旋渦發生體周圍交變環流;
4) 檢測旋渦發生體背面交變差壓;
5) 檢測尾流中旋渦列。
根據這5種檢測方式,采用不同的檢測技術(熱敏、超聲、應力、應變、電容、電磁、光電、光纖等)可以構成不同類型的渦街流量計,如表1所示。
⑶ 轉換器
檢測元件把渦街信號轉換成電信號,該信號既微弱又含有不同成分的噪聲,必須進行放大、濾波、整形等處理才能得出與流量成比例的脈沖信號。
不同檢測方式應配備不同特性的前置放大器,如表2所列。
表2 檢測方式與前置放大器
|
檢測方法 |
熱敏式 |
超聲式 |
應變式 |
應力式 |
電容式 |
光電式 |
電磁式 |
|
前置放大器 |
恒流放大器 |
選頻放大器 |
恒流放大器 |
電荷放大器 |
調諧-振動放大器 |
光電放大器 |
低頻放大器 |
轉換器原理框圖如圖6所示。
儀表表體可分為夾持型和法蘭型,如圖7所示。
三、優點和局限性
3.1. 優點
渦街流量計結構簡單牢固,安裝維護方便(與節流式差壓流量計相比較,無需導壓管和三閥組等,減少泄漏、堵塞和凍結等)。
適用流體種類多,如液體、氣體、蒸氣和部分混相流體。
精確度教高(與差壓式,浮子式流量計比較),一般為測量值的( ±1%~±2%)R。
范圍寬度,可達10:1或20:1。
壓損小(約為孔板流量計1/4~1/2)。
輸出與流量成正比的脈沖信號,適用于總量計量,無零點漂移;
在一定雷諾數范圍內,輸出頻率信號不受流體物性(密度,粘度)和組分的影響,即儀表系數僅與旋渦發生體及管道的形狀尺寸有關,只需在一種典型介質中校驗而適用于各種介質,如圖8所示。

圖8 不同測量介質的斯特勞哈爾數
可根據測量對象選擇相應的檢測方式,儀表的適應性強。
渦街流量計在各種流量計中是一種較有可能成為僅需干式校驗的流量計。
3.2. 局限性
渦街流量計不適用于低雷諾數測量(ReD≥2×104),故在高粘度、低流速、小口徑情況下應用受到限制。
旋渦分離的穩定性受流速分布畸變及旋轉流的影響,應根據上游側不同形式的阻流件配置足夠長的直管段或裝設流動調整器(整流器),一般可借鑒節流式差壓流量計的直管段長度要求安裝。
力敏檢測法渦街流量計對管道機械振動較敏感,不宜用于強振動場所。
與渦輪流量計相比儀表系數較低,分辨率低,口徑愈大愈低,一般滿管式流量計用于DN300以下。
儀表在脈動流、混相流中尚欠缺理論研究和實踐經驗。
四、分類與凡種類型產品簡介
4.1. 分類
渦街流量計可按下述原則分類。
按傳感器連接方式分為法蘭型和夾裝型。
按檢測方式分為熱敏式、應力式、電容式、應變式、超聲式、振動體式、光電式和光纖式等。
按用途分為普通型、防爆型、高溫型、耐腐型、低溫型、插入式和汽車專用型等。
按傳感器與轉換器組成分為一體型和分離型。
按測量原理分為體積流量計、質量流量計。
4.2. 幾種類型產品簡介
各類渦街流量計性能比較如表3所示。
表3 不同檢測方法渦街流量計比較
|
名 稱 |
檢測變化量 |
檢測技術 |
口徑/mm |
介質溫度/oC |
范圍度 |
雷諾數范圍 |
簡單程度 |
牢固程度 |
靈敏度 |
耐熱性 |
耐振性 |
耐污能力 |
應用范圍 |
||
|
檢測原理 |
檢測元件 |
||||||||||||||
|
熱敏式渦街流量計 |
流 |
加熱體冷卻 |
熱敏元件 |
25~200 |
-196~+205 |
15~30 |
104~106 |
△ |
√ |
√ |
× |
√ |
× |
清潔、無腐蝕液體、氣體 |
|
|
超聲式渦街流量計 |
聲束被調制 |
超聲換能器 |
25~150 |
-15~+175 |
30 |
3×103~106 |
× |
△ |
√ |
△ |
√ |
√ |
小口徑液體、氣體 |
||
|
電容式渦街流量計 |
壓 |
壓差作用 |
壓差檢測 |
膜片/電容 |
15~300 |
-200~+400 |
30 |
104~106 |
× |
△ |
√ |
√ |
△ |
△ |
液體、氣體、蒸汽 |
|
應力式渦街流量計 |
壓差檢測 |
膜片/壓電片 |
50~200 |
-18~+205 |
16 |
104~106 |
× |
△ |
√ |
√ |
× |
√ |
液體、氣體、蒸汽 |
||
|
振動體式渦街流量計 |
壓差檢測 |
圓盤/電磁 |
50~200 |
-268~-48 |
10~30 |
5×103~106 |
√ |
× |
△ |
√ |
× |
× |
極低溫液態氣體 |
||
|
棱球/電磁 |
-40~+427 |
高溫蒸汽 |
|||||||||||||
|
光電式渦街流量計 |
壓差檢測 |
反射鏡/光電元件 |
40~80 |
-10~+50 |
40 |
3×103~105 |
√ |
△ |
√ |
× |
× |
× |
低壓常溫氣體 |
||
|
應變式渦街流量計 |
升力作用 |
應變檢測 |
應變元件 |
50~150 |
-40~120 |
15 |
104~3×106 |
△ |
√ |
× |
△ |
△ |
√ |
液體 |
|
|
應力式渦街流量計 |
應力檢測 |
壓電元件 |
15~300 |
-40~+400 |
10~20 |
104~7×106 |
√ |
√ |
√ |
√ |
× |
√ |
液體、氣體、蒸汽 |
||
注∶√-較好、△-一般、×-差
以下簡介幾種類型渦街流量計。
⑴ 應力式渦街流量計
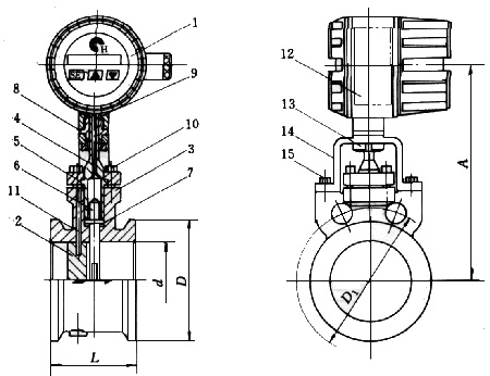
如圖9所示,應力式渦街流量計應用檢測方式1)~4)(見二、2.),它把檢測元件受到的升力以應力形式作用在壓電晶體元件上,轉換成交變的電荷信號,經電荷放大、濾波、整形后得到旋渦頻率信號。壓電傳感器響應快、信號強、工藝性好、制造成本低、與測量介質不接觸、可靠性高。儀表的工作溫度范圍寬,現場適應性強,可靠性較高,它是目前渦街流量計的主要產品類型。
圖9 應力式渦街流量計
1-表頭組;2-三角柱;3-表體;4-聯軸;5-壓板;6-探頭;7-密封墊;8-接頭;
9-密封墊圈;10-螺栓;11-銷;12-銘牌;13-圓螺母;14-支架;15-螺栓
但是,它對管道振動較敏感,是其主要缺點,幾年來,生產廠家做了大量工作以彌補此缺陷:如對儀表本身結構,檢測位置以及信號處理等采取措施;在管道安裝減震方式下功夫;向用戶提供選點咨詢指導等,已經取得一定的進展,當然如測量對象有較強的振動還是不用為好。
(2)電容式渦街流量計
電容式渦街流量計應用檢測方式1)、2),安裝在渦街流量傳感器中的電容檢測元件相當于一個懸臂梁(見圖10)。當旋渦產生時,在兩側形成微小的壓差,使振動體繞支點產生微小變形,從而導致一個電容間隙減少(電容量增大),另一個電容間隙增大(電容量下降),通過差分電路檢測電容差值。當管道有振動時,不管振動是何方向,由振動產生的慣性力同時作用在振動體及電極上,使振動體與電極都在同方向上產生變形,由于設計時保證了振動體與電極的幾何結構與尺寸相匹配,使它們的變形量一致,差動信號為零。這就是電容檢測元件耐振性能好的原因。雖然由于制造工藝的誤差,不可能完全消除振動的影響,但大大提高了耐振性能。試驗證明,其耐振性能超過1g。電容式另一個優點是可耐高溫達400oC,溫度對電容檢測元件的影響有兩方面:溫度使電容間介電常數發生變化和電極的幾何尺寸隨溫度而變,這些導致電容值發生變化,另一方面由于溫度升高金屬熱電子發射造成電容的漏電流增大。試驗證明,當溫度升高至400oC時無論電容值變化或漏電流增大都未影響儀表的基本性能。
⑶ 熱敏式渦街流量計
熱敏式渦街流量計采用檢測方式2)、3),如圖11所示。旋渦分離引起局部流速變化,改變熱敏電阻阻值,恒流電路把橋路電阻變化轉換為交變電壓信號。這種儀表檢測靈敏度較高,下限流速低,對振動不敏感,可用于清潔、無腐蝕性流體測量。
⑷ 超聲式渦街流量計
超聲式渦街流量計采用檢測方式5),如圖12所示。由圖可見,在管壁上安裝二對超聲探頭T1,R1,T2,R2,探頭T1,T2發射高頻、連續聲信號,聲波橫穿流體傳播。當旋渦通過聲束時,每一對旋轉方向相反的旋渦對聲波產生一個周期的調制作用,受調制聲波被接收探頭R1,R2轉換成電信號,經放大、檢波、整形后得旋渦信號。儀表有較高檢測靈敏度,下限流速較低,但溫度對聲調制有影響,流場變化及液體中含氣泡對測量影響較大,故儀表適用于溫度變化小的氣體和含氣量微小的液體流量測量。
⑸ 振動體式渦街流量計
振動體式渦街流量計采用檢測方式2),如圖13所示。在旋渦發生體軸向開設圓柱形深孔,孔內放置軟磁材料制作的輕質空心小球或圓盤(振動體),旋渦分離產生的差壓推動振動體上下運動,位于振動體上方的電磁傳感器檢測出旋渦頻率。它只適用于清潔度較高的流體(如蒸汽),可用于極高溫(427oC)及極低溫(-268oC),這是其特點。
⑹ 升力式渦街質量流量計
旋渦分離的同時,旋渦發生體受到流體作用的升力,升力F的大小為
F=CLρU2/2 (5)
式中 CL-旋渦發生體升力系數。
以式(5)除以式(1),經整理后可得質量流量qm
qm=ρU(π/4)D2=πD2Sr/2CLmd×F/f (6)
由式(6)可看出,質量流量qm與升力F成正比。圖14為原理框圖。從壓電檢測元件取出旋渦信號,經電荷轉換器后分兩路處理:一路經有源濾波器、施密特整形器和f/V轉換器,獲得與流速成正比的信號;另一路經放大器、濾波器獲得信號幅值與ρU2成正比的信號。這兩路信號經除法器運算,獲得質量流量。
該方法結構簡單,但信號幅值與壓電元件穩定性、放大器穩定性、現場安裝條件、被測介質溫度等多種因素有關,測量精確度難以提高。
⑺ 差壓式渦街質量流量計
流體通過旋渦發生體,產生旋渦分離和尾流震蕩,部分能量被消耗和轉換,在旋渦發生體前后產生壓力損失
△p=CDρU2/2 (7)
式中 CD-渦街流量傳感器阻力系數。
以式(7)除式(1),經整理后得質量流量qm
qm=ρU(π/4)D2=(πD2Sr/2mdCD)(△p/f) (8)
圖15示為差壓式渦街質量流量計原理框圖,傳感器輸出與體積流量成正比的頻率,差壓單元測出旋渦發生體前后特定位置的差壓△P,經計算單元計算,獲得質量流量qm。選擇阻力特性和流量特性俱佳的旋渦發生體,確定取壓孔位置,建立CD的數學模型是技術關鍵。
五、安裝使用注意事項
5.1. 安裝注意事項
渦街流量計屬于對管道流速分布畸變、旋轉流和流動脈動等敏感的流量計,因此,對現場管道安裝條件應充分重視,遵照生產廠使用說明書的要求執行。
渦街流量計可安裝在室內或室外。如果安裝在地井里,有水淹的可能,要選用涎水型傳感器。傳感器在管道上可以水平、垂直或傾斜安裝,但測量液體和氣體時為防止氣泡和液滴的干擾,安裝位置要注意,如圖16所示。
(a) 測量含液體的氣體流量儀表安裝;
(b) 測量含氣液體流量儀表安裝
渦街流量計必須保證上、下游直管段有必要的長度,如圖17所示。在各種資料中數據有差異,其原因可能是,旋渦發生體尚未標準化,形狀尺寸的差異有多少影響尚待驗證;對各類阻流件必要的直管段長度試驗研究尚不夠,即還不成熟,對比節流式差壓流量計,這方面工作還處于初始階段。
(a)一個90o彎頭;(b)同心擴管;(c)同心收縮全開閥門;(d)不同平面兩個90o彎頭;
(e)調節閥半開閥門;(f)同一平面兩個90o彎頭
傳感器與管道的連接如圖18所示。在與管道連接時要注意以下問題。
1) 上、下游配管內徑D與傳感器內徑D`相同,其差異滿足下述條件:0.95D≤D`≤1.1D。
2) 配管應與傳感器同心,同軸度應小于0.05D`。
3) 密封墊不能凸入管道內,其內徑可比傳感器內徑大1~2mm。
4) 如需斷流檢查與清洗傳感器,應設置旁通管道如圖19所示。
5) 減小振動對渦街流量計的影響應該作為渦街流量計現場安裝的一個突出問題來關注。首先在選擇傳感器安裝場所時盡量注意避開振動源。其次采用彈性軟管連接在小口徑中可以考慮。第三,加裝管道支撐物是有效的減振方法,一種管道支撐方法如圖20所示。
成套安裝,包括前后直管段,流動調整器等是保證獲得高精確度測量的一個措施,特別這些裝配在制造廠進行更能保證安裝的質量,圖21所示為一安裝實例。
電氣安裝應注意傳感器與轉換器之間采用屏蔽電纜或低噪聲電纜連接,其距離不應超過使用說明書的規定。布線時應遠離強功率電源線,盡量用單獨金屬套管保護。應遵循"一點接地"原則,接地電阻應小于10Ω。整體型和分離型都應在傳感器側接地,轉換器外殼接地點應與傳感器"同地"。
六、標準和檢定規程
雖然渦街流量計在通用流量計中是很年輕的流量計,我國早在80年代就制訂了渦街流量計專業標準(ZBN 12008-89)和檢定規程JJG 620-89,說明它受到行業的重視。專業標準于1998年進行了修訂,改變為JB/T 9249-1999。檢定規程則與其他速度式流量計的堅定規程合并為一個新的檢定規程JJG 198-94,不過由于新規程包括了眾多種類速度式流量計(達8種之多!),在規定中渦街流量計的一些特點就難以照顧到了,因此感覺有的規定不具體或完全沒有規定,執行起來有些困難。JJG 620-89還有一定參考價值。
國外對渦街流量計標準制訂亦很重視,90年代初國際標準化組織(ISO)即成立起草工作組起草渦街流量計國際標準,1993年提出委員會草案(ISO/CD 12764),至1997年頒布為技術報告(ISO/TR 12764:1997)。由于種種原因ISO把不宜作為國際標準的一些文件列為技術報告,例如得不到足夠支持率的文件,技術尚在發展還不夠成熟或作為參考資料提供等等,看來渦街流量計文件還不夠成熟暫時尚不能作為國際標準發布。工業發達國家如美、日皆制訂有渦街流量計國家標準(ASME/ANSI MFC-6M-1987和JIS Z8766-1989)。
金湖億嘉儀表有限公司注重產品質量,主營電磁流量計、渦街流量計、孔板流量計、磁翻板液位計、玻璃板液位計等產品,歡迎您前來選購!

